Artikelname: ENTLÜFTER (BREATHER-BRAKE)
Hersteller: Kawasaki
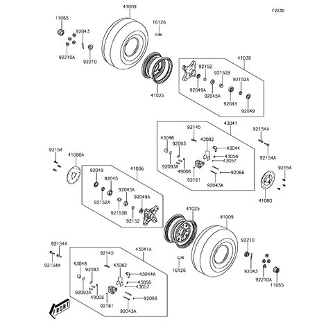
OEM Nummer: 43056-Y001 (43056Y001)
Kategorien: Gabel
2023
KFX90 (KSF90BPFNN)
2018
BRUTE FORCE 300 (KVF300CJF)
2017
BRUTE FORCE 300 (KVF300CHF)
2016
BRUTE FORCE 300 (KVF300CGF)
2015
BRUTE FORCE 300 (KVF300CFF)
2013
KVF300 (KVF300CDF)
2012
KVF300 (KVF300CCF)
Kawasaki Motors Europe N.V. Niederlassung Deutschland
Max-Planck-Strasse 26
61381 Friedrichsdorf
Telefon: (0 61 72) 7 34 - 0
Telefax: (0 61 72) 7 34 - 1 60
Email: info@Kawasaki.de